Pengertian Optik, Macam, Jenis, Konsep dan Geometris

pengertian-optik-9332650-4570859-jpg

Pengertian Optik, Macam, Jenis, Konsep dan Geometris Adalah cabang fisika yang menggambarkan perilaku dan sifat cahaya dan interaksi cahaya dengan materi. Optik dijelaskan dan ditandai dengan fenomena optik dan alat yang bekerja berdasarkan prinsip cahaya. Alat optik membuat hidup manusia lebih mudah

pengertian-optik-9307682


Baca Juga Artikel Yang Mungkin Berhubungan : Cermin Cekung, Manfaat, Sifat dan Contoh


Pengertian Optik

Alat optik merupakan alat yang bekerja berdasarkan prinsip cahaya. Alat optik membuat hidup manusia lebih mudah dan berarti. Anda dapat menikmati keindahan alam semesta, mengabadikan saat-saat terindah pada lembaran foto, atau bahkan bisa membuat sehelai rambut di kepala menjadi terlihat sebesar lengan.


Optik adalah cabang fisika yang menggambarkan perilaku dan sifat cahaya dan interaksi cahaya dengan materi. Optik dijelaskan dan ditandai dengan fenomena optik. Kata berasal dari ὀπτική optik Latin, yang berarti tampilan.Bidang optik biasanya menggambarkan sifat cahaya tampak, sinar inframerah dan ultraviolet, tetapi sebagai cahaya adalah gelombang elektromagnetik, fenomena yang sama juga terjadi dalam bentuk sinar-X, gelombang mikro, gelombang radio, dan lainnya gejala radiasi elektromagnetikdan mirip maupun pada balok muatan partikel (balok dibebankan). Optik secara umum dapat dianggap sebagai bagian darikeelektromagnetan. Beberapa gejala optis bergantung pada sifat kuantum cahaya yang terkait dengan beberapa bidang optik kuantum hinggamekanika. Dalam prakteknya, sebagian besar fenomena optik dapat dihitung dengan menggunakan sifat daricahaya elektromagnetik, seperti yang dijelaskan oleh persamaan Maxwell.


Bidang optik memiliki identitas, masyarakat, dan konferensi. Aspek lapangansering disebut ilmu optik atau fisika optik. Ilmu optik terapan sering disebut rekayasa optik. Aplikasi dari rekayasa optik yang terkait khusus dengan sistem iluminasi (iluminasi) disebut rekayasa pencahayaan. Setiap disiplin cenderung sedikit berbeda dalam aplikasi, keterampilan teknis, fokus, dan afiliasi profesionalnya. Inovasi lebih baru dalam rekayasa optik sering dikategorikan sebagai fotonika atau Optoelektronik. Batas-batas antara bidang ini dan “optik” yang tidak jelas, dan istilah yang digunakan berbeda di berbagai belahan dunia dan dalam berbagai bidang industri.


Karena aplikasi yang luas dari ilmu “cahaya” untuk aplikasi dunia nyata, ilmu optik dan rekayasa optik cenderung sangat interdisipliner. Ilmu optik merupakan bagian dari berbagai disiplin terkait termasuk elektro, fisika, psikologi, kedokteran (khususnya optalmologidan optometri), dan lain-lain. Selain itu, perilaku optik yang paling lengkap, seperti dijelaskan dalam fisika, tidak selalu rumit untuk kebanyakan masalah, jadi model sederhana dapat digunakan. Model sederhana ini cukup untuk menjelaskan sebagian besar perilaku fenomena optik dan mengabaikan relevan dan / atau tidak terdeteksi pada suatu sistem.


Dalam ruang bebas dengan kecepatan gelombang bepergian c = 3 × 10 ^ 8 meter / detik. Ketika memasuki medium tertentu (dielectric atau nonconducting) gelombang dengan kecepatan v, yang merupakan karakteristik dari bahan dan kurang dari cahaya besarnyakecepatan sendiri (c). Perbandingan kecepatan cahaya dalam ruang hampa dengan kecepatan cahaya dalam medium adalah indeks bias bahan n sebagai berikut: n = c / v


Baca Juga Artikel Yang Mungkin Berhubungan : Pengertian dan 7 Sifat Cahaya


Macam dan Jenis Alat Optik

Mata

Setiap manusia memiliki alat optik tercanggih yang pernah ada, yaitu mata. Mata merupakan bagian dari pancaindra yang berfungsi untuk melihat. Mata membantu kita menikmati keindahan alam, melihat teman-teman, mengamati benda-benda di sekeliling, dan masih banyak lagi yang dapat kita nikmati melalui mata. Coba bayangkan bila manusia tidak mempunyai mata atau mata kita buta, tentu dunia ini terlihat gelap gulita.

mata-1237646


Apabila diamati, ternyata mata terdiri atas beberapa bagian yang masing-masing mempunyai fungsi berbeda-beda tetapi saling mendukung. Bagian-bagian mata yang penting tersebut, antara lain, kornea, pupil, iris, aquaeus humour, otot akomodasi, lensa mata, retina, vitreous humour, bintik kuning, bintik buta, dan saraf mata.


  • Kornea merupakan bagian luar mata yang tipis, lunak, dan transparan. Kornea berfungsi menerima dan meneruskan cahaya yang masuk pada mata, serta melindungi bagian mata yang sensitif di bawahnya.
  • Pupil merupakan celah sempit berbentuk lingkaran dan berfungsi agar cahaya dapat masuk ke dalam mata.
  • Iris adalah selaput berwarna hitam, biru, atau coklat yang berfungsi untuk mengatur besar kecilnya pupil. Warna inilah yang Anda lihat sebagai warna mata seseorang.
  • Aquaeus Humour.Aquaeus humour merupakan cairan di depan lensa mata untuk membiaskan cahaya ke dalam mata.
  • Otot Akomodasi.Otot akomodasi adalah otot yang menempel pada lensa mata dan berfungsi untuk mengatur tebal dan tipisnya lensa mata.

  • Lensa Mata.Lensa mata berbentuk cembung, berserat, elastis, dan bening. Lensa ini berfungsi untuk membiaskan cahaya dari benda supaya terbentuk bayangan pada retina.
  • Retina adalah bagian belakang mata yang berfungsi sebagai tempat terbentuknya bayangan.
  • Vitreous Humour.Vitreous humour adalah cairan di dalam bola mata yang berfungsi untuk meneruskan cahaya dari lensa ke retina.
  • Bintik Kuning. Bintik kuning adalah bagian dari retina yang berfungsi sebagai tempat terbentuknya bayangan yang jelas.
  • Bintik Buta.Bintik buta adalah bagian dari retina yang apabila bayangan jatuh pada bagian ini, maka bayangan tampak tidak jelas atau kabur.
  • Saraf Mata.Saraf mata befungsi untuk meneruskan rangsangan bayangan dari retina menuju ke otak.

Daya Akomodasi Mata

Bola mata Anda bentuknya tetap, sehingga jarak lensa mata ke retina juga tetap. Hal ini berarti jarak bayangan yang dibentuk lensa mata selalu tetap, padahal jarak benda yang kita lihat berbeda. Bagaimana supaya kita tetap dapat melihat benda dengan jarak bayangan yang terbentuk tetap, meskipun jarak benda yang dilihat berubah? Tentu kita harus mengubah jarak fokus lensa mata, dengan cara mengubah kecembungan lensa mata. Hal inilah yang menyebabkan kita bisa melihat benda yang memiliki jarak berbeda tanpa mengalami kesulitan. Kemampuan ini merupakan karunia Tuhan yang sampai sekarang manusia belum bisa menirunya.


Lensa mata dapat mencembung atau pun memipih secara otomatis karena adanya otot akomodasi (otot siliar). Untuk melihat benda yang letaknya dekat, otot siliar menegang sehingga lensa mata mencembung dan sebaliknya untuk melihat benda yang letaknya jauh, otot siliar mengendur (rileks), sehingga lensa mata memipih. Kemampuan otot mata untuk menebalkan atau memipihkan lensa mata disebut daya akomodasi mata.

daya-akomodasi-mata-8689102


Agar benda/objek dapat terlihat jelas, objek harus terletak pada daerah penglihatan mata, yaitu antara titik dekat dan titik jauh mata. Titik dekat (punctum proximum = pp) adalah titik terdekat yang masih dapat dilihat dengan jelas oleh mata (± 25 cm). Pada titik dekat ini lensa mata akan mencembung maksimal. Titik jauh (punctum remotum = pr) adalah titik terjauh yang masih dapat dilihat dengan jelas oleh mata, jaraknya tak terhingga. Pada titik jauh ini, lensa mata akan memipih maksimal.


Cacat Mata

Tidak semua mata manusia dapat membentuk bayangan tepat pada retina, ada mata yang mengalami anomali. Hal ini dapat terjadi karena daya akomodasi mata sudah berkurang sehingga titik jauh atau titik dekat mata sudah bergeser. Keadaan mata yang demikian disebut cacat mata.

Cacat mata yang diderita seseorang dapat disebabkan oleh kerja mata (kebiasaan mata) yang berlebihan atau cacat sejak lahir.


  • Miopi (Rabun Jauh)
    Miopi adalah kondisi mata yang tidak dapat melihat dengan jelas benda-benda yang letaknya jauh. Penderita miopi titik jauhnya lebih dekat daripada tak terhingga (titik jauh < ~) dan titik dekatnya kurang dari 25 cm. Hal ini terjadi karena lensa mata tidak dapat dipipihkan sebagaimana mestinya sehingga bayangan dari benda yang letaknya jauh akan jatuh di depan retina. Untuk dapat melihat benda-benda yang letaknya jauh agar nampak jelas, penderita miopi ditolong dengan kaca mata berlensa cekung (negatif).
    Miopi dapat terjadi karena mata terlalu sering/terbiasa melihat benda yang dekat. Cacat mata ini sering dialami tukang jam, tukang las, operator komputer, dan sebagainya.
  • Hipermetropi (Rabun Dekat)
    Hipermetropi adalah cacat mata dimana mata tidak dapat melihat dengan jelas benda-benda yang letaknya dekat. Titik dekatnya lebih jauh daripada titik dekat mata normal (titik dekat > 25 cm).
    Penderita hipermetropi hanya dapat melihat dengan jelas benda-benda yang letaknya jauh sehingga cacat mata ini sering disebut mata terang jauh. Hipermetropi disebabkan lensa mata terlalu pipih dan sulit dicembungkan sehingga bila melihat benda-benda yang letaknya dekat, bayangannya jatuh di belakang retina. Supaya dapat melihat benda-benda yang letaknya dekat dengan jelas, penderita hipermetropi ditolong dengan kaca mata berlensa cembung (positif).
    Hipermetropi dapat terjadi karena mata terlalu sering/terbiasa melihat benda-benda yang jauh. Cacat mata ini sering dialami oleh orang-orang yang bekerja sebagai sopir, nahkoda, pilot, masinis, dan sebagainya.
  • Presbiopi (Mata Tua)
    Orang-orang yang sudah tua, biasanya daya akomodasinya sudah berkurang. Pada mata presbiopi, titik dekatnya lebih jauh daripada titik dekat mata normal (titik dekat > 25 cm) dan titik jauhnya lebih dekat daripada titik jauh mata normal (titik jauh < ~). Oleh karena itu, penderita presbiopi tidak dapat melihat benda-benda yang letaknya dekat maupun jauh.
    Untuk dapat melihat jauh dengan jelas dan untuk membaca pada jarak normal, penderita presbiopi dapat ditolong dengan kaca mata berlensa rangkap (kacamata bifokal). Kacamata bifokal adalah kaca mata yang terdiri atas dua lensa, yaitu lensa cekung dan lensa cembung. Lensa cekung berfungsi untuk melihat benda jauh dan lensa cembung untuk melihat benda dekat/membaca.
  • Astigmatisma
    Astigmatisma adalah cacat mata dimana kelengkungan selaput bening atau lensa mata tidak merata sehingga berkas sinar yang mengenai mata tidak dapat terpusat dengan sempurna. Cacat mata astigmatisma tidak dapat membedakan garis-garis tegak dengan garis-garis mendatar secara bersama-sama. Cacat mata ini dapat ditolong dengan kaca mata berlensa silinder.

Tipuan Mata

Selain memiliki banyak keunggulan, mata manusia juga memiliki beberapa keterbatasan. Oleh karena itu, dalam pengamatan dan pengukuran, mata tidak selalu memberikan hal-hal yang benar. Perhatikan gambar berikut!tipuan-mata-2019375


Baca Juga Artikel Yang Mungkin Berhubungan : √ Lensa Cembung: Pengertian, Rumus, Jenis, Sifat, dan Sinar Istimewa


LUP

Lup atau kaca pembesar adalah alat optik yang terdiri atas sebuah lensa cembung. Lup digunakan untuk melihat benda-benda kecil agar nampak lebih besar dan jelas. Ada 2 cara dalam menggunakan lup, yaitu dengan mata berakomodasi dan dengan mata tak berakomodasi.

Pada saat mata belum menggunakan lup, benda tampak jelas bila diletakkan pada titik dekat pengamat (s = sn) sehingga mata melihat benda dengan sudut pandang α. Pada Gambar (b), seorang pengamat menggunakan lup dimana benda diletakkan antara titik O dan F (di ruang I) dan diperoleh bayangan yang terletak pada titik dekat mata pengamat (s’ = sn). Karena sudut pandang mata menjadi lebih besar, yaitu β , maka mata pengamat berakomodasi maksimum.


lup-1297749

Menggunakan lup untuk mengamati benda dengan mata berakomodasi maksimum cepat menimbulkan lelah. Oleh karena itu, pengamatan dengan menggunakan lup sebaiknya dilakukan dengan mata tak berakomodasi (mata dalam keadaan rileks).

Pada kehidupan sehari-hari, lup biasanya digunakan oleh tukang arloji, pedagang kain, pedagang intan, polisi, dan sebagainya.


KAMERA

Kamera adalah alat yang digunakan untuk menghasilkan bayangan fotografi pada film negatif. Pernahkah Anda menggunakan kamera? Biasanya Anda menggunakan kamera untuk mengabadikan kejadian-kejadian penting.

Kamera terdiri atas beberapa bagian, antara lain, sebagai berikut :


  • Lensa cembung, berfungsi untuk membiaskan cahaya yang masuk sehingga terbentuk bayangan yang nyata, terbalik, dan diperkecil.
  • Diafragma, adalah lubang kecil yang dapat diatur lebarnya dan berfungsi untuk mengatur banyaknya cahaya yang masuk melalui lensa.
  • Apertur, berfungsi untuk mengatur besar-kecilnya diafragma.
  • Pelat film, berfungsi sebagai tempat bayangan dan menghasilkan gambar negatif, yaitu gambar yang berwarna tidak sama dengan aslinya, tembus cahaya.

kamera-9157022


Dalam kamera terdapat lensa cembung yang berfungsi sebagai pembentuk bayangan. Jika sebuah benda diletakkan di ruang tiga sebuah lensa cembung akan terbentuk bayangan nyata, terbalik, dan diperkecil. Antara kamera dan mata manusia terdapat persamaannya, yaitu benda yang diambil oleh kamera dan benda yang dilihat mata manusia berada di ruang tiga dan lensa kamera atau lensa mata. Sehingga terbentuk bayangan yang sifatnya nyata, terbalik, dan diperkecil.

Pada kamera bayangan ini diusahakan jatuh tepat di plat film yang mempunyai sifat sangat peka terhadap cahaya. Jika plat film yang peka cahaya ini dikenai cahaya maka plat film mengalami perubahan kimia sesuai dengan cahaya dan benda di depan kamera. Plat ini masih peka cahaya, agar plat film ini menjadi tidak peka terhadap cahaya dalam studio perlu dicuci atau dimasukkan ke dalam larutan kimia tertentu. Setelah plat film dicuci atau dimasukkan ke dalam larutan kimia tadi, plat film menjadi tidak pekat terhadap cahaya dan terlihat gambar pada plat film yang disebut gambar negatif (negatif film). Untuk memperoleh gambar yang sesuai dengan gambar semula yang diambil di depan kamera, film negatif ini kemudian dicetak pada kertas film (biasanya kertas film warnanya putih). Gambar pada kertas film merupakan gambar dan benda yang diambil di depan kamera tersebut dan disebut gambar positif. Gambar positif sangat tergantung pada proses pembentukan bayangan pada plat film ini, jika bayangan terjadi pada plat film ini kabur atau kurang jelas menyebabkan hasil cetakannya nanti juga kabur atau tidak jelas.


Untuk memperoleh hasil pemotretan yang bagus, lensa dapat Anda geser maju mundur sampai terbentuk bayangan paling jelas dengan jarak yang tepat, kemudian Anda tekan tombol shutter.

Pelat film menggunakan pelat seluloid yang dilapisi dengan gelatin dan perak bromida untuk menghasilkan negatifnya. Setelah dicuci, negatif tersebut dipakai untuk menghasilkan gambar positif (gambar asli) pada kertas foto. Kertas foto merupakan kertas yang ditutup dengan lapisan tipis kolodium yang dicampuri dengan perak klorida. Gambar yang ditimbulkan pada bidang transparan disebut gambar diapositif.


MIKROSKOP

Mikroskop adalah alat yang digunakan untuk melihat benda-benda kecil agar tampak jelas dan besar. Mikroskop terdiri atas dua buah lensa cembung. Lensa yang dekat dengan benda yang diamati (objek) disebut lensa objektif dan lensa yang dekat dengan pengamat disebut lensa okuler. Mikroskop yang memiliki dua lensa disebut mikroskop cahaya lensa ganda.


Karena mikroskop terdiri atas dua lensa positif, maka lensa objektifnya dibuat lebih kuat daripada lensa okuler (fokus lensa objektif lebih pendek daripada fokus lensa okuler). Hal ini dimaksudkan agar benda yang diamati kelihatan sangat besar dan mikroskop dapat dibuat lebih praktis (lebih pendek).

mikroskop-2183371


Benda yang akan amati diletakkan pada sebuah kaca preparat di depan lensa objektif dan berada di ruang II lensa objektif ( fobj < s < 2 fobj ). Hal ini menyebabkan bayangan yang terbentuk bersifat nyata, terbalik dan diperbesar. Bayangan yang dibentuk lensa objektif merupakan benda bagi lensa okuler.

Untuk memperoleh bayangan yang jelas, Anda dapat menggeser lensa okuler dengan memutar tombol pengatur. Supaya bayangan terlihat terang, di bawah objek diletakkan sebuah cermin cekung yang berfungsi untuk mengumpulkan cahaya dan diarahkan pada objek. Ada dua cara dalam menggunakan mikroskop, yaitu dengan mata berakomodasi maksimum dan dengan mata tak berakomodasi.


Sifat-sifat bayangan yang terbentuk pada mikroskop sebagai berikut.

  • Bayangan yang dibentuk lensa objektif adalah nyata, terbalik, dan diperbesar.
  • Bayangan yang dibentuk lensa okuler adalah maya, tegak, dan diperbesar.
  • Bayangan yang dibentuk mikroskop adalah maya, terbalik, dan diperbesar terhadap bendanya.

TEROPONG

Teropong atau teleskop adalah alat yang digunakan untuk melihat benda-benda yang jauh agar tampak lebih jelas dan dekat. Ditinjau dari objeknya, teropong dibedakan menjadi dua, yaitu teropong bintang dan teropong medan.


Teropong Bintang

Teropong bintang adalah teropong yang digunakan untuk melihat atau mengamati benda-benda langit, seperti bintang, planet, dan satelit. Nama lain teropong bintang adalah teropong astronomi. Ditinjau dari jalannya sinar, teropong bintang dibedakan menjadi dua, yaitu teropong bias dan teropong pantul.


Teropong bias terdiri atas dua lensa cembung, yaitu sebagai lensa objektif dan okuler. Sinar yang masuk ke dalam teropong dibiaskan oleh lensa. Oleh karena itu, teropong ini disebut teropong bias.

Benda yang diamati terletak di titik jauh tak hingga, sehingga bayangan yang dibentuk oleh lensa objektif tepat berada pada titik fokusnya. Bayangan yang dibentuk lensa objektif merupakan benda bagi lensa okuler. Lensa okuler berfungsi sebagai lup.

Lensa objektif mempunyai fokus lebih panjang daripada lensa okuler (lensa okuler lebih kuat daripada lensa objektif). Hal ini dimaksudkan agar diperoleh bayangan yang jelas dan besar. Bayangan yang dibentuk oleh lensa objektif selalu bersifat nyata, terbalik, dan diperkecil. Bayangan yang dibentuk lensa okuler bersifat maya, terbalik, dan diperkecil terhadap benda yang diamati. Seperti pada mikroskop, teropong bintang juga dapat digunakan dengan mata berakomodasi maksimum dan dengan mata tak berakomodasi.


teropong-bias-5837392


Karena jalannya sinar di dalam teropong dengan cara memantul maka teropong ini dinamakan teropong pantul. Pada teropong pantul, cahaya yang datang dikumpulkan oleh sebuah cermin melengkung yang besar. Cahaya tersebut kemudian dipantulkan ke mata pengamat oleh satu atau lebih cermin yang lebih kecil.

teropong-pantul-1275379


Teropong Medan / Teropong Bumi

Teropong medan digunakan untuk mengamati benda-benda yang jauh di permukaan bumi. Teropong bumi terdiri atas tiga lensa cembung, masing-masing sebagai lensa objektif, lensa pembalik, dan lensa okuler. Lensa pembalik hanya untuk membalikkan bayangan yang dibentuk lensa objektif, tidak untuk memperbesar bayangan.

Lensa okuler berfungsi sebagai lup. Karena lensa pembalik hanya untuk membalikkan bayangan, maka bayangan yang dibentuk lensa objektif harus terletak pada titik pusat kelengkungan lensa pembalik. Lensa okuler juga dibuat lebih kuat daripada lensa objektif. Teropong bumi atau medan sebenarnya sama dengan teropong bintang yang dilengkapi dengan lensa pembalik.


Sifat bayangan yang dibentuk teropong medan adalah maya, tegak, dan diperbesar. Ada teropong bumi yang hanya menggunakan dua lensa (teropong panggung), yaitu lensa cembung sebagai lensa objektif dan lensa cekung sebagai lensa okuler. Lensa cekung di sini berfungsi sebagai pembalik bayangan yang dibentuk oleh lensa objektif dan sekaligus sebagai lup.

Sifat bayangan yang dibentuk maya, tegak, dan diperbesar daripada bayangan yang dibentuk lensa objektif. Teropong ini sering disebut teropong panggung atau teropong Belanda atau teropong Galileo.


Teropong bumi dan teropong panggung memang tidak bisa dibuat praktis. Untuk itu, dibuat teropong lain yang fungsinya sama tetapi sangat praktis, yaitu teropong prisma. Disebut teropong prisma karena pada teropong ini digunakan dua prisma yang didekatkan bersilangan antara lensa objektif dan lensa okuler sehingga bayangan akhir yang dibentuk bersifat maya, tegak, dan diperbesar.

teropong-medan-9970069


Baca Juga Artikel Yang Mungkin Berhubungan : Pengertian Radiasi , Bahaya, Jenis, Dampak, Dan Manfaat


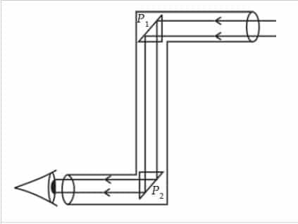
PERISKOP

Periskop adalah teropong pada kapal selam yang digunakan untuk mengamati benda-benda di permukaan laut. Periskop terdiri atas 2 lensa cembung dan 2 prisma siku-siku sama kaki.


Jalannya sinar pada periskop adalah sebagai berikut:

  • Sinar sejajar dari benda yang jauh menuju ke lensa obyektif.
  • Prisma P1 memantulkan sinar dari lensa objektif menuju ke prisma P2.
  • Oleh prisma P2 sinar tersebut dipantulkan lagi dan bersilangan di depan lensa okuler tepat di titik fokus lensa okuler.

periskop-1625063


PROYEKTOR SLIDE

Proyektor slide adalah alat yang digunakan untuk memproyeksikan gambar diapositif sehingga diperoleh bayangan nyata dan diperbesar pada layar. Bagian-bagian yang penting pada proyektor slide, antara lain lampu kecil yang memancarkan sinar kuat melalui pusat kaca, cermin cekung yang berfungsi sebagai reflektor cahaya, lensa cembung untuk membentuk bayangan pada layar, dan slide atau gambar diapositif.

proyektor-slide-9158038


OPTALMOSKUP

Alat ini dipakai untuk memeriksa retina mata. pada gambar melukiskan bagian-bagian penting dari optalmoskup. berkas cahaya yang datang dari sumber cahaya S yang terletak pada fokus lensa L1 dibiaskan sejajar ke cermin C. dari cermin C sinar dpantulkan ke amta. selanjutnya dokter dapat mengamati retina melalui lubang ditengah-tengah cermin C dan lensa L2 bertindak sebagai lup.

optalmoskup-4765019


Baca Juga Artikel Yang Mungkin Berhubungan : 5 Panca Indera (Fisiologi) : Fungsi, Gambar, Dan Bagiannya


Konsep Optika

Optika adalah cabang fisika yang menggambarkan perilaku dan sifat cahaya dan interaksi cahaya dengan materi. Optika menerangkan dan diwarnai oleh gejala optis. Kata optik berasal dari bahasa Latin ὀπτική, yang berarti tampilan.

Bidang optika memiliki identitas, masyarakat, dan konferensinya sendiri. Aspek keilmuannya sering disebut ilmu optik atau fisika optik. Ilmu optik terapan sering disebut rekayasa optik. Aplikasi dari rekayasa optik yang terkait khusus dengan sistem iluminasi (iluminasi) disebut rekayasa pencahayaan. Setiap disiplin cenderung sedikit berbeda dalam aplikasi, keterampilan teknis, fokus, dan afiliasi profesionalnya. Inovasi lebih baru dalam rekayasa optik sering dikategorikan sebagai fotonika atau optoelektronika. Batas-batas antara bidang ini dan “optik” sering tidak jelas, dan istilah yang digunakan berbeda di berbagai belahan dunia dan dalam berbagai bidang industri.


Karena aplikasi yang luas dari ilmu “cahaya” untuk aplikasi dunia nyata, bidang ilmu optika dan rekayasa optik cenderung sangat lintas disiplin. Ilmu optika merupakan bagian dari berbagai disiplin terkait termasuk elektro, fisika, psikologi, kedokteran (khususnya optalmologi dan optometri), dan lain-lain. Selain itu, penjelasan yang paling lengkap tentang perilaku optis, seperti dijelaskan dalam fisika, tidak selalu rumit untuk kebanyakan masalah, jadi model sederhana dapat digunakan. Model sederhana ini cukup untuk menjelaskan sebagian gejala optis serta mengabaikan perilaku yang tidak relevan dan / atau tidak terdeteksi pada suatu sistem.


Di ruang bebas suatu gelombang berjalan pada kecepatan c = 3×108 meter/detik. Ketika memasuki medium tertentu (dielectric atau nonconducting) gelombang berjalan dengan suatu kecepatan v, yang mana adalah karakteristik dari bahan dan kurang dari besarnya kecepatan cahaya itu sendiri (c). Perbandingan kecepatan cahaya di dalam ruang hampa dengan kecepatan cahaya di medium adalah indeks bias n bahan sebagai berikut : n = cv


Baca Juga Artikel Yang Mungkin Berhubungan : Mata Manusia : Bagian Bagian Mata, Fungsi, Anatomi & Cara Kerja


Optika Geometris

Optika geometris, atau optika sinar, menjelaskan propagasi cahaya dalam bentuk “sinar”. Sinar dibelokkan di antarmuka antara dua medium yang berbeda, dan dapat berbentuk kurva di dalam medium yang mana indeks-refraksinya merupakan fungsi dari posisi. “Sinar” dalam optik geometris merupakan objek abstrak, atau “instrumen”, yang sejajar dengan muka gelombang dari gelombang optis sebenarnya. Optik geometris menyediakan aturan untuk penyebaran sinar ini melalui sistem optis, yang menunjukkan bagaimana sebenarnya muka gelombang akan menyebar. Ini adalah penyederhanaan optik yang signifikan, dan gagal untuk memperhitungkan banyak efek optis penting seperti difraksi dan polarisasi. Namun hal ini merupakan pendekatan yang baik, jika panjang gelombang cahaya tersebut sangat kecil dibandingkan dengan ukuran struktur yang berinteraksi dengannya. Optik geometris dapat digunakan untuk menjelaskan aspek geometris dari penggambaran cahaya (imaging), termasuk aberasi optis.


Optika geometris sering disederhanakan lebih lanjut oleh pendekatan paraksial, atau “pendekatan sudut kecil.” Perilaku matematika yang kemudian menjadi linear, memungkinkan komponen dan sistem optis dijelaskan dalam bentuk matrik sederhana. Ini mengarah kepada teknik optik Gauss dan penelusuran sinar paraksial, yang digunakan untui order pertama dari sistem optis, misalnya memperkirakan posisi dan magnifikasi dari gambar dan objek. Propagasi sorotan Gauss merupakan perluasan dari optik paraksial yang menyediakan model lebih akurat dari radiasi koheren seperti sorotan laser. Walaupun masih menggunakan pendekatan paraksial, teknik ini memperhitungkan difraksi, dan memungkinkan perhitungan pembesaran sinar laser yang sebanding dengan jarak, serta ukuran minimum sorotan yang dapat terfokus. Propagasi sorotan Gauss menjembatani kesenjangan antara optik geometris dan fisik.


Pemantulan Dan Pembiasan Cahaya

Pemantulan Cahaya

Refleksi atau pantulan cahaya terbagi menjadi 2 tipe: specular reflection dan diffuse reflection. Specular reflection menjelaskan perilaku pantulan sinar cahaya pada permukaan yang mengkilap dan rata, seperti cermin yang memantulkan sinar cahaya ke arah yang dengan mudah dapat diduga. Kita dapat melihat citra wajah dan badan kita di dalam cermin karena pantulan sinar cahaya yang baik dan teratur. Menurut hukum refleksi untuk cermin datar, jarak subyek terhadap permukaan cermin berbanding lurus dengan jarak citra di dalam cermin namun parity inverted, persepsi arah kiri dan kanan saling terbalik. Arah sinar terpantul ditentukan oleh sudut yang dibuat oleh sinar cahaya insiden terhadap normal permukaan, garis tegak lurus terhadap permukaan pada titik temu sinar insiden. Sinar insiden dan pantulan berada pada satu bidang dengan masing-masing sudut yang sama besar terhadap normal.


Citra yang dibuat dengan pantulan dari 2 (atau jumlah kelipatannya) cermin tidak parity inverted. Corner retroreflector memantulkan sinar cahaya ke arah datangnya sinar insiden.

Diffuse reflection menjelaskan pemantulan sinar cahaya pada permukaan yang tidak mengkilap (Inggris:matte) seperti pada kertas atau batu. Pantulan sinar dari permukaan semacam ini mempunyai distribusi sinar terpantul yang bergantung pada struktur mikroskopik permukaan. Johann Heinrich Lambert dalam Photometria pada tahun 1760 dengan hukum kosinus Lambert (atau cosine emission law atau Lambert’s emission law) menjabarkan intensitas radian luminasi sinar terpantul yang proposional dengan nilai kosinus sudut θ antara pengamat dan normal permukaan Lambertian dengan persamaan:


pemantulan-cahaya-8160836

Ada 3 buah bentuk cermin pemantul, yaitu : cermin datar, cermin cekung dan cermin cembung. Pada ketiga cermin itu berlaku persamaan umum yang digunakan untuk menghitung jarak bayangan (s`) dari suatu benda yang terletak pada jarak tertentu (s) dari cermin itu.


pemantulan-cahaya-1-6634664


Baca Juga Artikel Yang Mungkin Berhubungan : Lup Kaca Pembesar – Pengertian, Bagian, Fungsi, Cara Kerja, Rumus, Contoh


Pembiasan cahaya

Pada peristiwa pembiasan, cahaya yang datang akan diteruskan namun mengalami pembiasan atau pembelokan arah. Besarnya sudut yang dibentuk oleh sinar bias dengan garis normal dinamakan sebagai sudut bias. Besar kecilnya sudut bias dipengaruhi oleh sifat dari medium yang biasa disebut sebagai indeks bias ( n ). Indeks bias merupakan perbandingan antara laju cahaya dalam ruang hampa ( c ) dengan laju cahaya dalam medium ( v ) atau bila dirumuskan secara matematis :


n =c/v

Dari rumusan di atas terlihat bahwa indeks bias n berbanding terbalik dengan v. Artinya semakin besar n maka v semakin kecil. Hal ini yang menyebabkan cahaya yang datang dari medium dengan n besar ke medium dengan n lebih kecil akan dibiaskan menjauhi garis normal. Sebaliknya cahaya yang datang dari medium dengan n lebih kecil ke medium dengan n lebih besar akan dibiaskan mendekati garis normal.. Lihat gambar di bawah ini.

pembiasan-cahaya-2651422

Sudut pantul : Sudut yang dibentuk oleh sinar pantul dengan garis normal

Sudut bias : Sudut yang dibentuk oleh sinar bias dengan garis normal

Pembentukan bayangan pada cermin cekung

pembentukan-bayangan-pada-cermin-cekung-5214690


Daftar Pustaka
Nurachmandani, Setya. 2009. Fisika 1 untuk SMA/MA kelas X.Jakarta : Pusat Perbukuan Departemen Pendidikan Nasional.
Widodo, Tri dan Suparmo. 2009. Panduan Pembelajaran Fisika untuk SMA/MA Kelas X.Jakarta : Pusat Perbukuan Departemen Pendidikan Nasional.
Mungkin Dibawah Ini yang Kamu Cari

website Pelajaran SD SMP SMA dan Kuliah Terlengkap

Materi pelajaran terlengkap

mata pelajaran
jadwal mata pelajaran mata pelajaran sma jurusan ipa mata pelajaran sd mata pelajaran dalam bahasa jepang mata pelajaran kurikulum merdeka mata pelajaran dalam bahasa inggris mata pelajaran sma jurusan ips mata pelajaran sma
bahasa inggris mata pelajaran
bu ani memberikan tes ujian akhir mata pelajaran ipa
tujuan pemberian mata pelajaran pendidikan kewarganegaraan di sekolah adalah
dalam struktur kurikulum mata pelajaran mulok bersifat opsional. artinya mata pelajaran smp mata pelajaran ipa mata pelajaran bahasa indonesia mata pelajaran ips mata pelajaran bahasa inggris mata pelajaran sd kelas 1
data mengenai mata pelajaran favorit dikumpulkan melalui cara
soal semua mata pelajaran sd kelas 1 semester 2 mata pelajaran smk mata pelajaran kelas 1 sd mata pelajaran matematika mata pelajaran ujian sekolah sd 2022
bahasa arab mata pelajaran mata pelajaran jurusan ips mata pelajaran sd kelas 1 2021 mata pelajaran sbdp mata pelajaran kuliah mata pelajaran pkn
bahasa inggrisnya mata pelajaran mata pelajaran sma jurusan ipa kelas 10 mata pelajaran untuk span-ptkin mata pelajaran ppkn mata pelajaran ips sma mata pelajaran tik
nama nama mata pelajaran dalam bahasa inggris mata pelajaran pkn sd mata pelajaran mts mata pelajaran pjok
nama nama mata pelajaran dalam bahasa arab mata pelajaran bahasa inggrisnya mata pelajaran bahasa arab
seorang pengajar mata pelajaran akuntansi di sekolah berprofesi sebagai
nama mata pelajaran dalam bahasa jepang
hubungan bidang studi pendidikan kewarganegaraan dengan mata pelajaran lainnya
dalam struktur kurikulum mata pelajaran mulok bersifat opsional artinya mata pelajaran dalam bahasa arab
tujuan mata pelajaran seni rupa adalah agar siswa

You May Also Like

About the Author: Hack Adm

Tinggalkan Balasan

Alamat email Anda tidak akan dipublikasikan. Ruas yang wajib ditandai *